
- 產品名稱:PJ型實物校裝置
- 產品編號:EMCPJ150001
- 產品概括:
- 使用精度:
一種高精度、高穩定性智能稱重系統 長期使用精度±0.2%

24小時***服務:400-688-2588
eaccor提供全面的皮帶秤校驗解決方案,從料斗秤實物校驗、模擬實物自動循環鏈碼校驗、藏箱鏈碼校驗,卷揚鏈碼校驗到普通鏈碼校驗和掛碼校驗,依科根據客戶的實際需求給出性價比高的解決方案,全面滿足客戶需求。
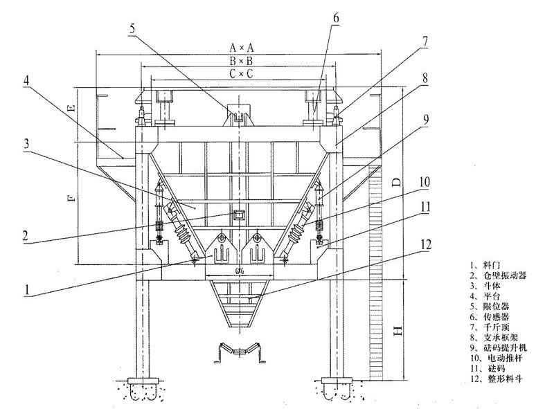
eaccor—PJ型實物校裝置是一種高精度的靜態電子料斗秤,主要用于電子皮帶秤的實物校驗,其標定精度遠高于掛碼標定和鏈碼標定,實現全過程的自動化操作,是散料計量管理及商貿結算工作中不可缺少的配套設備。

主要技術參數
系統綜合精度:±0.1%
有效稱量范圍:5~150t
標準砝碼精度:M1級
標準砝碼規格:1t/只或2t/只(整體式)
過載能力:≤120%F.S

系統特點
采用PLC控制技術,操作控制集中,校準簡捷方便。
系統的自檢、進產、料量控制可實現程序自動化。
采用整體式砝碼,砝碼的升降采用電動提升機、操作方便。
系統采用全懸浮結構,確保稱重準確性及穩定性。
可與上位機的聯網通訊,實現對系統設備的遠方操作。
上一個產品:B168皮帶秤實物校驗裝置
下一個產品:EPV實物校驗裝置電氣控制柜